相關產品:
不銹鋼高壓安全閥
TFA48SH-64高溫高壓安全閥
帶散熱器彈簧全啟式安全閥A40Y
GA42Y-100單杠桿安全閥
內裝式安全閥TANA42F
A28H帶手柄彈簧全啟式安全閥
A46F(Y)先導式安全閥
A44Y帶扳手彈簧全啟式安全閥
A41H彈簧微啟封閉式高壓安全閥
A21H不銹鋼彈簧微啟式安全閥
彈簧微啟式螺紋安全閥
保溫夾套安全閥
脈沖式安全閥
帶扳手彈簧全啟式蒸汽安全閥
彈簧微啟式氧氣安全閥
液壓式安全閥
微啟彈簧式安全閥
真空負壓安全閥
先導式安全閥
單杠桿安全閥
雙杠桿安全閥
主安全閥
帶散熱器彈簧全啟式安全閥
高溫高壓安全閥(電站用)
全啟式超高壓安全閥
安全溢流閥
彈簧微啟式高壓安全閥(焊接式)
彈簧全啟式安全閥
帶手柄彈簧全啟式安全閥
彈簧微啟封閉式安全閥
彈簧微啟式外螺紋安全閥
波紋管平衡式安全閥
雙聯彈簧式安全閥
平行式安全回流閥
液化石油氣安全閥
彈簧全啟封閉式安全閥
帶扳手彈簧微啟式安全閥
彈簧全啟封閉式高壓安全閥
彈簧微啟封閉式高壓安全閥
空壓機安全閥
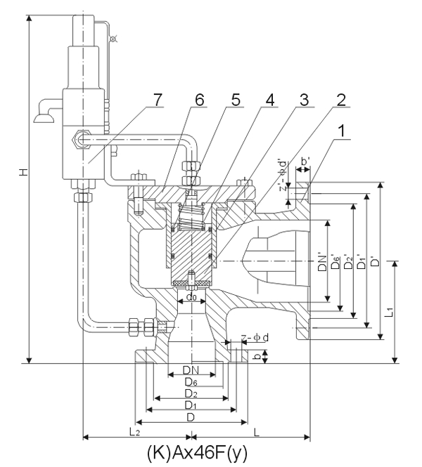
A46F先導式安全閥產品描述
先導式安全閥屬于安全閥的一種類型,彈簧式安全閥是利用彈簧還調整定壓力,A46H先導式安全閥是用來感受壓力值,達到一定壓力的時候,先導閥先行開啟后主閥也會隨之開啟,真正釋放壓力的是主閥,先導閥只是有一個提示作用。先導式安全閥在安全性能上是可靠的,具有穩定、回座快、背壓小、密封性能好,*主要的優點就是先導閥的回座快,安全閥迅速開啟和關閉,提高了搞到的工資效率。A46型先導式安全閥一般用于、鍋爐、電站、容器等場合中,其性能的優越,值得購買。
A46F先導式安全閥主要零部件材料
| NO. | 零件名稱 | Ax46Y/F 材料 | KAX46Y/F材料 |
| 1 | 閥體 | WCB | WCB |
| 2 | 閥瓣 | 2Cr13/2Cr13+PTFE | 1Cr18Ni9Ti/1Cr18Ni9Ti+PTFE |
| 3 | 導向套 | 1Cr18Ni9Ti | 1Cr18Ni9Ti |
| 4 | 彈簧 | 50CrVA | 50CrVA |
| 5 | O型圈 | 氟橡膠 | 氟橡膠 |
| 6 | 閥蓋 | 25 | 25 |
| 7 | 導閥 | 部件 | |
A46H先導式安全閥主要尺寸

A46H/F-16(16/160)主要尺寸
| 公稱通徑DN(mm) | DN | do | PN16C~25 | PN40 | |||||||||
| 尺寸(mm) | 重量(kg) | 尺寸(mm) | 重量(kg) | ||||||||||
| L | L1 | H | L | L1 | H | ||||||||
| 25 | 50 | 10 | 13 | 16 | 114 | 105 | 330 | 17 | 114 | 111 | 369 | 18.5 | |
| 32 | 50 | 10 | 13 | 16 | 121 | 124 | 331 | 19 | 121 | 124 | 371 | 20 | |
| 40 | 80 | 20 | 26 | 124 | 130 | 345 | 24 | 124 | 130 | 385 | 26 | ||
| 50 | 80 | 20 | 26 | 33 | 124 | 137 | 348 | 30 | 124 | 137 | 348 | 31 | |
| 80 | 100 | 33 | 40 | 50 | 162 | 156 | 369 | 50 | 162 | 156 | 369 | 53 | |
| 100 | 150 | 50 | 55 | 63 | 72 | 210 | 197 | 448 | 82 | 210 | 197 | 488 | 91 |
| 150 | 200 | 96 | 115 | 241 | 240 | 450 | 144 | 241 | 240 | 490 | 155 | ||
| 200 | 250 | 146 | 279 | 276 | 464 | 298 | 279 | 279 | 504 | 314 | |||
A46H/F-100(64/160)主要尺寸
| 公稱通徑DN(mm) | DN | do | PN16C~25 | PN40 | |||||||||
| 尺寸(mm) | 重量(kg) | 尺寸(mm) | 重量(kg) | ||||||||||
| L | L1 | H | L | L1 | H | ||||||||
| 25 | 50 | 10 | 13 | 16 | 114 | 111 | 369 | 20 | 121 | 125 | 370 | 22 | |
| 32 | 50 | 10 | 13 | 16 | 121 | 124 | 371 | 21.5 | 140 | 149 | 371 | 27 | |
| 40 | 80 | 20 | 26 | 124 | 130 | 385 | 26 | 171 | 162 | 383 | 30 | ||
| 50 | 80 | 20 | 26 | 33 | 124 | 137 | 388 | 35 | 171 | 167 | 388 | 44 | |
| 80 | 100 | 33 | 40 | 50 | 162 | 162 | 408 | 55 | 181 | 191 | 409 | 73 | |
| 100 | 150 | 50 | 55 | 63 | 72 | 210 | 197 | 488 | 95 | 233 | 249 | 491 | 132 |
| 150 | 200 | 96 | 115 | 241 | 246 | 494 | 182 | - | - | - | - | ||
| 200 | 250 | 146 | 279 | 297 | 504 | 342 | - | - | - | - | |||
相關產品