空壓機安全閥
產品型號:AQ
發布時間:2008-5-7
AQ系列空壓機安全閥適用于工作溫度≤200℃的空氣,系空壓機專用安全閥,當設備內壓力超過允許值時,閥門自動開啟,繼而全量排放,當壓力降低到規定值時,閥門自動關閉,保證設備安全運行。
下一個產品:彈簧微啟封閉式高壓安全閥
上一個產品:高溫高壓安全閥(電站用)
相關產品:
不銹鋼高壓安全閥
TFA48SH-64高溫高壓安全閥
帶散熱器彈簧全啟式安全閥A40Y
GA42Y-100單杠桿安全閥
內裝式安全閥TANA42F
A28H帶手柄彈簧全啟式安全閥
A46F(Y)先導式安全閥
A44Y帶扳手彈簧全啟式安全閥
A41H彈簧微啟封閉式高壓安全閥
A21H不銹鋼彈簧微啟式安全閥
彈簧微啟式螺紋安全閥
保溫夾套安全閥
脈沖式安全閥
帶扳手彈簧全啟式蒸汽安全閥
彈簧微啟式氧氣安全閥
液壓式安全閥
微啟彈簧式安全閥
真空負壓安全閥
先導式安全閥
單杠桿安全閥
雙杠桿安全閥
主安全閥
帶散熱器彈簧全啟式安全閥
高溫高壓安全閥(電站用)
全啟式超高壓安全閥
安全溢流閥
彈簧微啟式高壓安全閥(焊接式)
彈簧全啟式安全閥
帶手柄彈簧全啟式安全閥
彈簧微啟封閉式安全閥
彈簧微啟式外螺紋安全閥
波紋管平衡式安全閥
雙聯彈簧式安全閥
平行式安全回流閥
液化石油氣安全閥
彈簧全啟封閉式安全閥
帶扳手彈簧微啟式安全閥
彈簧全啟封閉式高壓安全閥
彈簧微啟封閉式高壓安全閥
空壓機安全閥
空壓機安全閥產品詳細資料:
空壓機安全閥適用于工作溫度≤200℃的空氣,系空壓機專用安全閥,當設備內壓力超過允許值時,閥門自動開啟,繼而全量排放,當壓力降低到規定值時,閥門自動關閉,保證設備安全運行。
空壓機安全閥主要零部件材料:
| NO. | 零件名稱 | AQ-20材料 |
| 1 | 閥體 | 2Cr13 |
| 2 | 閥座 | 2Cr13 |
| 3 | 閥瓣 | 2Cr13 |
| 4 | 閥桿 | 2Cr13 |
| 5 | 閥蓋 | ZG230-450 |
| 6 | 閥帽 | ZG230-450 |
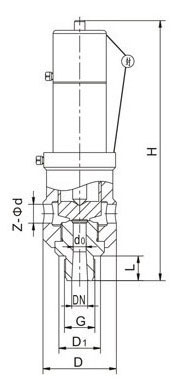
空壓機安全閥結構尺寸圖:

空壓機安全閥外形尺寸和連接尺寸:
| 公稱通徑 | 尺寸 | ||||||
| do | G | D | D1 | Z-ød | L | H | |
| 20 | 17 | G1" | 62 | 44 | 4-17 | 25 | 220 |
| 25 | 20 | M36×2 | 70 | 50 | 4-20 | 28 | 226 |
相關產品